Szokás 360 ° forgó fedél száraz típusú lapáttal Multi Jet vízmérő férfi szerelvényekkel Szállítók, OEM/ODM gyár - Ningbo Jingcheng Technology Co, ltd.

360 ° forgó fedél száraz típusú lapáttal Multi Jet vízmérő férfi szerelvényekkel

Otthon / Termék / Szerelő vízmérő / 360 ° forgó fedél száraz típusú lapáttal Multi Jet vízmérő férfi szerelvényekkel

KM05-20

360 ° forgó fedél száraz típusú lapáttal Multi Jet vízmérő férfi szerelvényekkel

Lakóvízmérő nem visszatért szeleppel, lezárt nyilvántartás, IP68-ra. A szemcsék és a részecskék érintetlen.

Vegye fel velünk a kapcsolatot360 ° forgó fedél száraz típusú lapáttal Multi Jet vízmérő férfi szerelvényekkel
360 ° forgó fedél száraz típusú lapáttal Multi Jet vízmérő férfi szerelvényekkel

Leírás

1. Jellemzők

  • A multi-jet típusú, a külső beállítás, a 360 ° forgó fedél elfogadása.
  • Száraz típusú regiszter, mágneses meghajtó, anti-mágneses beavatkozás, fagyasztás elleni, hosszú távú tiszta leolvasás, hamisítás igazolása.
  • Anyag: sárgaréz, vas, műanyag test az opcióhoz.
  • Nem visszatérő szelepek és szűrők állnak rendelkezésre.
  • A szemcsék és a részecskék által érintett.
  • Ólomtömítéssel és porálló burkolattal ellátva.
  • Erősítse meg az ISO4064 -et.
  • Elérhető az IP68 -hoz.

2. Fejvesztési görbe

3. Pontossági hiba görbe

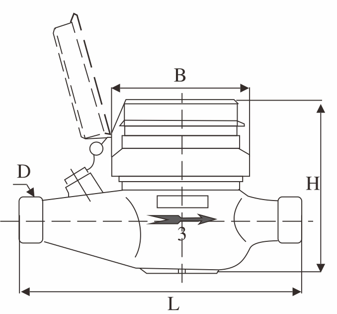
4. Telepítési dimenzió

Tétel nem LXSG-15 LXSG-20 LXSG-25 LXSG-32 LXSG-40
L1 mm 165 190 225 230 245
L mm 260 295 345 350 375
H mm 110 110 115 115 115
W mm 98 98 110 110 110
Csatlakozási szál D (mm) G3/4 " G1 " G1 1/4 " G1 1/2 " G2 "
D (mm) R1/2 R3/4 R1 R1 1/4 R1 1/2
Súly szakszervezetekkel
kg
szakszervezetek nélkül 1.2 1.4 1.8 2.2 2.6
kg

5. Fő műszaki adatok

Modellszám

LXSG-15

LXSG-20

LXSG-25

LXSG-32

LXSG-40

Névleges átmérő (DN) [mm]

15

20

25

32

40

Arány q3/q1

R80

R100

R160

R80

R100

R160

R80

R100

R160

R80

R100

R160

R80

R100

R160

Túlterhelés áramlási sebessége (Q4) [M³/H]

3.125

3.125

3.125

5

5

5

7.875

7.875

7.875

12.5

12.5

12.5

20

20

20

Állandó áramlási sebesség (Q3) [m³/h]

2.5

2.5

2.5

4

4

4

6.3

6.3

6.3

16

16

16

25

25

25

Átmeneti áramlási sebesség (Q2) [m³/H]

0.05

0.04

0.025

0.08

0.064

0.04

0.126

0.1008

0.063

0.2

0.16

0.1

0.32

0.256

0.16

Minimális áramlási sebesség (Q1) [M³/H]

0.03125

0.025

0.015625

0.05

0.04

0.025

0.07875

0.063

0.039375

0.125

0.1

0.0625

0.2

0.16

0.1

Pontossági osztály

2

A maximális megengedett hiba a
Alacsonyabb áramlási zóna (MPEι)

± 5%

Maximális megengedett hiba
A felső áramlási zóna (MPEμ)

± 2% olyan víz esetén, amelynek hőmérséklete ≤30 ℃
± 3% olyan víz esetén, amelynek hőmérséklete > 30 ℃

Hőmérsékleti osztály

T30, T50

Víznyomásórák

16. térkép

Nyomásveszteség osztályok

△ P63

Jelzi a tartományt [m³]

99 999

A
Jelölje az eszközt [m³]

0.00005

Áramlási profilérzékenységi osztályok

U10 D5

Orientációs korlátozás

Horizontal

Vegye fel a kapcsolatot velünk

Send Message
Szerelő vízmérő

Kik vagyunk mi?

Ningbo Jingcheng Technology Co., Ltd.

Ningbo Jingcheng Technology Co., Ltd. A festői szépségű Jiangbei Befektetési Parkban található, NINGBO, KÍNA. Ez egy átfogó high-tech vállalkozás, amely integrálja a tudományos kutatást és fejlesztést, a termelést, az értékesítést és a szolgáltatást. 2002-ben alakult, mint a vízmérők gyártója és exportőre több mint 22 éve. A gyár területe 40 hektár (30000 négyzetméter), 200 alkalmazottal, több mint 100 típusú termékkel, évi 5 milliós termékkapacitás. Termékpalettája egysugaras, többsugaras, térfogatdugattyús típusú, Woltma típusú, IC-kártyás intelligens vízmérőket, távirányítós vízmérőket, optoelektromos leolvasású, közvetlen távirányítós vízmérőket, tisztított vízmérőket és ultrahangos vízmérőket foglal magában, amelyek megfelelnek az ISO4064B, C, D fokozatú nemzetközi szabványnak. Számos hazai és külföldi céggel állunk együttműködésben. Fő külföldi piacaink Ázsia, Afrika, Európa, Dél-Amerika stb.
"Célunk folyamatosan továbbfejlesztve, ragaszkodva az őszinteséghez és a jóhiszeműséghez". Elfutottuk az ISO9001: 2015 mennyiségi menedzsment rendszert és az ISO14001: 2015 Környezetvédelmi Rendszer -tanúsításokat, az ISO 45001: 2018 Foglalkozási Egészségbiztonsági Menedzsment Rendszert, a szigorú és tudományos minőségi és üzemeltetési menedzsment ellenőrzési eljárásokat, és garantálták számos felhasználó érdeklődését.
A Ningbo Water Meter ipar fejlődésének hátterében a Jingcheng Meter aktívan kutatja és fejleszti új termékeket, amelyek megfelelnek a piaci igényeknek és a környezetvédelmi követelményeknek, és kedvező megjegyzéseket kaptak mind az új, mind a régi ügyfelektől. A "Technológia és a minőség jó, őszinte szolgáltatás" működési gondolatát követően készen állunk arra, hogy kiváló minőségű termékeket és szolgáltatásokat nyújtsunk Önnek a fényes kilátásokhoz, ha a kézben van.

Kitüntetések és képesítések

Minden igazolás tanúja volt a specialitásnak.

Fedezzen fel többet
Ningbo Jingcheng Technology Co., Ltd.

Hírek

Kövesse a vállalati információkat és értse meg az iparági tendenciákat.

Fedezzen fel többet
Ningbo Jingcheng Technology Co., Ltd.